
Filtre WSP100
Filtre interne pour cuve eau de pluie.
Jusqu’à 300 m² de toiture.
Retient les particules jusqu’à 400 µm.

Filtre interne pour cuve eau de pluie.
Jusqu’à 300 m² de toiture.
Retient les particules jusqu’à 400 µm.

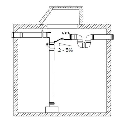
Le filtre WSP est destiné au filtrage de l’eau de pluie provenant des toitures. Les filtres INTEWA WSP sont uniquement destinés à être installés dans les citernes ou dans des regards.
Il est composé d’un raccord à la verticale pour la pose d’une arrivée calme et d’un trop plein équipé d’un clapet anti-retour évitant le retour dans la cuve des eaux évacuée et l’entré de rongeur.
Sa conception brevetée inclus également la présence d’un Skimmer permettant d’évacuer les souillures qui surnagent.
Ce filtre se caractérise par une efficacité de fonctionnement optimale et des coûts de maintenance réduits. Contrairement aux autres filtres autonettoyants, le filtre hydraulique à sauts en PP fonctionne par sa fonction de collecte avec une efficacité de 100 % pour les petites précipitations jusqu’à 0,6 mm en 5 minutes. Comme ces petites précipitations représentent 97 % des précipitations annuelles, le degré d’efficacité est d’environ 98 %. Les grosses précipitations de 0,6 mm en 5 minutes, qui se produisent 4 à 10 fois par an, ne représentent que 3 % des précipitations totales et sont utilisées pour la fonction d’auto-nettoyage. En raison de leur grande et brève poussée d’énergie, ces précipitations sont idéales pour le processus de nettoyage !
Les + produits